香港金管局:2年期人民币特区政府机构债券票面利率定为2.04%
作者:林妍
2024-11-15 09:33
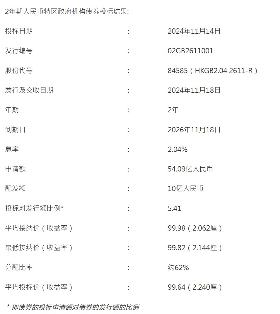
久期财经讯,11月14日,香港金融管理局(金管局)以香港特别行政区政府(特区政府)代表身分,宣布在基础建设债券计划下所推出的2年期人民币政府机构债券(发行编号02GB2611001)的投标已于今日(11月14日)举行。
今日推出总值10亿人民币的2年期政府债券,债券的投标申请总额达54.09亿人民币。投标对发行额比例(即债券的投标申请总额对债券的发行总额的比例)为5.41。平均接纳价是99.98,即以年率计的收益率为2.062厘。
特区政府机构债券投标结果如下:


